Aqualoop Tap – Mobilny Bezprądowy Filtr do Wody Pitnej
Aqualoop Tap to mobilny system uzdatniania wody bez prądu! Zabezpiecz się na wypadek kryzysu. Filtruj wodę z rzeki, jeziora lub deszczówki. Usuwa bakterie, wirusy i pasożyty. Wydajność do 1600 l/dobę.
Czy masz plan B na brak wody i prądu?
Konflikt zbrojny, klęska żywiołowa, black-out - te realne zagrożenia mogą odciąć Cię od dostępu do wody pitnej. Aqualoop Tap to przenośne, bezprądowe urządzenie, które zapewni bezpieczną wodę do picia w każdej sytuacji kryzysowej.
Zabezpiecz się - miej własne źródło czystej wody
Aqualoop Tap działa wyłącznie na zasadzie ciśnienia hydrostatyczne, bez potrzeby użycia prądu. Uzdatnia wodę surową z jeziora, rzeki lub deszczówki do jakości wody pitnej.
Jak działa Aqualoop Tap?
Innowacyjna membrana ultrafiltracyjna z opatentowanej technologii Intewa
Filtracja mechaniczna z porami 0,02 mikrometra
Skutecznie usuwa bakterie (E.coli, Salmonella), wirusy (Rotawirusy) i pasożyty (Giardia)
Proces w 100% mechaniczny, bez chemikaliów
Łatwa obsługa i czyszczenie
Kluczowe zalety:
Całkowita niezależność od energii elektrycznej
Wydajność do 1600 litrów na dobę (dla ponad 1000 osób)
Kompaktowa, przenośna konstrukcja
Prosty montaż i obsługa
Bezpieczeństwo bez chemii
Niezawodna konstrukcja
Dla kogo jest Aqualoop Tap?
Gospodarstwa domowe - awarie infrastruktury
Szkoły, szpitale, domy opieki - ciągłość dostaw wody
Kempingi, obozy terenowe - woda w terenie
Organizacje pomocowe - działania humanitarne
Samorządy - program OLiOC
Aqualoop Tap vs Aqualoop Direct
Podstawowy model Tap zapewnia 1600 l/dobę. Dla większych potrzeb Aqualoop Direct z pompą zwiększa wydajność kilkunastokrotnie.
Zabezpiecz się już dziś!
Skontaktuj się po zabezpieczenie wodne
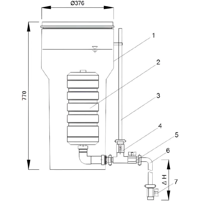
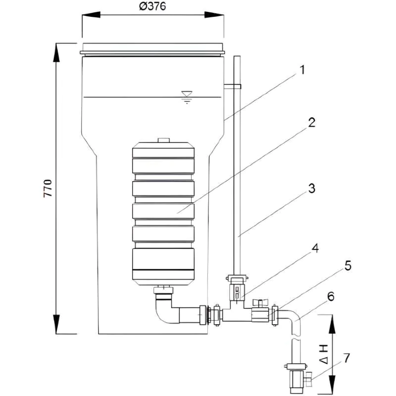
- Aqualoop Tap - Techniczne Specyfikacje Bezprądowego Systemu Uzdatniania Wody
- Aqualoop Tap - Specyfikacja Techniczna Systemu Uzdatniania Wody
- Poznaj pełne dane techniczne mobilnego systemu Aqualoop Tap - gotowego rozwiązania do uzdatniania wody w sytuacjach awaryjnych i terenowych.
Kluczowe Zalety Technologiczne
System Aqualoop Tap wykorzystuje zaawansowaną membranę z włókna kapilarnego PE o powierzchni filtracyjnej 6 m² i wielkości porów 0,02 µm, co gwarantuje skuteczne usuwanie bakterii, wirusów i pasożytów. Zbiornik wykonany z wysokiej jakości HDPE zapewnia bezpieczne magazynowanie wody pitnej, a lekka konstrukcja (tylko 8 kg) umożliwia łatwy transport i montaż w różnych warunkach terenowych.
Certyfikacja i Bezpieczeństwo
Aqualoop Tap posiada certyfikat bakteriologiczny HUS Salzburg zgodny z normą ÖNORM EN ISO 9308-1, potwierdzający skuteczność usuwania mikroorganizmów. Materiały kontaktujące się z wodą spełniają wymagania dla wody pitnej, co zapewnia pełne bezpieczeństwo użytkowania.
Zabezpiecz się na wypadek kryzysu z certyfikowanym systemem Aqualoop Tap!
Masz pytania techniczne? Skontaktuj się z naszymi specjalistami

Sprawdź oceny naszych Klientów 
